开云官方网页版qs丹麦留学一览表

开云官方网页版专题频道qs丹麦留学一览表栏目,提供与qs丹麦留学一览表相关的所有资讯,希望我们所做的能让您感到满意!

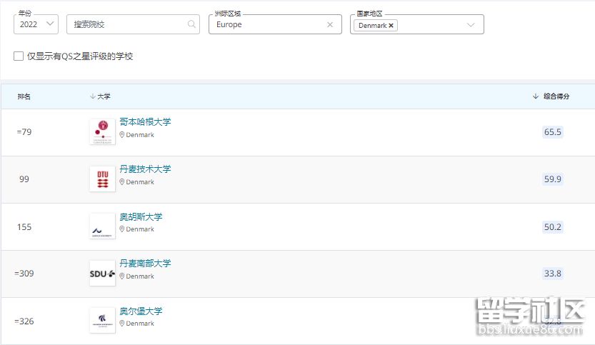
QS2022丹麦大学排名一览表

 

  丹麦作为欧洲国家中不算热门的选择,境内的大学数量也不算很多,如果留学的话一定要认真了解。接下来就由开云官方网页版带来QS2022丹麦大学排名一览表。

  2022丹麦大学QS排名

  1、哥本哈根大学

  世界排名:79

  哥本哈根大学建于1479年,是丹麦王国的最高学府,也是一所世界顶尖的综合类研究型大学,大学下属6个学院,开设的专业门类丰富,自然科学、社会科学、生命科学等是其优势专业。大学一直致力于进行高质量的教学和研究,培养了诸多领域的杰出人物,包括39位诺贝尔奖得主,世界著名童话大师安徒生就毕业于该校。

  2、丹麦技术大学

  世界排名:99

  丹麦技术大学创建于1829年,是世界顶尖的工程技术类大学之一,以丰富的教育资源和雄厚的科研实力著称,大学共有3个校区,15个系或研究中心,拥有学士、硕士、博士和大博士学位的授予权,为丹麦和世界培养了众多杰出人才。

  3、奥胡斯大学

  世界排名:155

  奥胡斯大学创办于1928年,是丹麦规模最大的顶尖综合性大学,拥有优质的师资力量和国际化的学习氛围,在读学生约有38000人,其中国际学生约为10%,学校开设有丰富的本科和硕士专业,诞生了3为诺贝尔奖得主,我国清华大学的前校长顾秉林也毕业于这所大学。

  4、丹麦南部大学

  世界排名:309

  丹麦南部大学创办于1966年,是丹麦顶尖的大学之一,校园环境优美、教学设施先进,科研实力强大,约有25000名学生,提供本科到博士后学位的高等教育课程,其中信息技术、工程学和生命科学领域在世界上有着很高的知名度。

  5、奥尔堡大学

  世界排名:326

  奥尔堡大学创建于1974年,是欧洲顶尖的工程类院校,坐落于北欧丹麦王国奥尔堡,采用基于问题的跨学科教育与研究方式,以良好的学术科研环境著称,大学共有3个校区,5个学院,21个系,提供完整的本—硕—博教育体制,在自然科学,社会科学,人文科学等领域享有很高的声誉。

  申请流程

  一、确认目标

  需要申请者对自己的能力的进行全面的掌握,包括硬件和软件的内容,大家需要对自己在 国内的学习成果进行了解,然后方便后续和目标要求进行对比,这样才会更有利于大家的申请。

  而申请的学校和专业,则需要大家根据自己的兴趣以及规划进行确认,这样才会有助于大家进行筛选,建议大家参考专业人员的意见,并且要考虑到就业和市场的需求,并且能力也要够得上才行。

  二、准备材料

  硬件就是大家的学术和成绩,在确认目标后就可以开始整理了,学历证明是完成阶段学习之后直接获取的;GPA成绩单要由学校进行开具;而语言成绩单,则要大家参加考试之后才可 以拿得到。

  软件属于辅助和加分项目,要确定能够对自己的申请有帮助才行,其中文书类的主要是简历、推荐信和个人陈述,并且要出示自己的实习经历证明,如果有获奖经历会有积极作用。

  三、提交申请

  学校的申请渠道开放了之后,大家就...

2022QS世界大学排名一览表:丹麦大学

 

  作为相对冷门的留学国家,丹麦的大学申请需要满足的要求也不简单,大家提交申请,需要根据自己的目标进行准备。。接下来开云官方网页版带来2022QS世界大学排名一览表:丹麦大学。

  2022QS丹麦大学最新排名

qs丹麦.png

  签证申请条件

  凡符合国家因私出境管理规定,年满18岁,身体健康,有支付学习和生活费用能力者,可以申请就学。

  1.初中生申请优势:① 孩子虽小,可是正是学习语言能力最强的时候。丹麦属于北欧国家,开云(中国)是必不可少的一门功课。因此初中生留学丹麦,可以更好地提高开云(中国)水平。② 因材施教:国外高中一般采用选课制,可以让学生更早地直面自己的兴趣、爱好,有的放矢地选课。学生完全可以根据将来要就读大学的专业和未来从业的方向选择课程,从而大大调动了学习的积极性,也较容易取得高分,进开云官方网页版名牌大学深造就不再话下。③ 免除了中国高考的一考定终身的制度。在国外,成绩不是衡量一个人自身能力的主要标志,平时的表现和考试的结果才是一个学生优良的前提。④ 初中生留学丹麦,是更好的提高自身自制能力的。锻炼孩子从小的自立自强,一个孩子如果从初中开始生活上就能自理,那么将来必定更是一位优秀的人。⑤ 丹麦留学学费问题是家长最关心的问题。但是丹麦留学的费用相比欧美国家是很低的。

  2.本科生申请条件

  学士学位:由于丹麦各高等院校在学士学位阶段,授课语言大多是丹麦语,目前只有哥本哈根大学、奥胡斯商业大学和南方大学等少数几所大学设有开云(中国)授课,其专业范围也限于国际商务、商务管理科学和国际商务管理等学科。开云官方网页版学条件为:高中毕业后有二年大学学历,托福成绩550-575分,雅思6-6.5分。

  3.研究生申请条件

  硕士学位:丹麦硕士学位阶段的学生为国际学生,因此在丹麦一些著名大学内开设有开云(中国)授课的专业。开云官方网页版学条件为:(1)大学本科毕业,托福550分;(2 )大专三年毕业,成绩适合者,托福550分;(3)开云官方网页版工程技术大学,托福575分,雅思6.5分。

  4.博士生申请条件:硕士毕业,免托福

  签证办理流程

  首先在移民局的网站上申请一个Case Order ID,交钱给移民局,选择自己的相对应类型,因为交钱是不一样多的,长期而且在那边有工资的话,一般是要交三千多,还有另外一种是叫一千多的,网站上都有详细说明;相关链接如下:/en-

  联系对方导师,一般会有相应的学院秘书协助我们完成签证办理,首先是要交一个从丹麦移...

2021QS哥本哈根大学世界排名一览表

 

  去丹麦读书的学生,选择适合自己的专业很重要,那么你知道丹麦最好的大学是哪一所吗?跟着开云官方网页版了解一下2021QS哥本哈根大学世界排名一览表。

  哥本哈根大学世界排名

年份 QS排名 学校名称 国家/地区
2021 76 哥本哈根大学 丹麦
2020 72 哥本哈根大学 丹麦
2019 79 哥本哈根大学 丹麦
2018 73 哥本哈根大学 丹麦
2017 68 哥本哈根大学 丹麦

  哥本哈根大学简介

  哥本哈根大学 (英文: University of Copenhagen; 丹麦文: Københavns Universitet; 简称:UCPH / KU)坐落于丹麦王国首都哥本哈根,是丹麦最高学府,国际研究型大学联盟和欧洲研究型大学联盟成员。

  大学建于1479年,距今已有500多年历史,从最初只对社会名流开放,现已发展成一所学科全面、集教育与科研于一身的世界顶尖研究型大学。

  经济学人智库发布的“2019年全球最宜居城市”中,哥本哈根位列全球第9名。作为欧洲顶尖的教育和科研机构之一,哥本哈根大学下属6个学院,包括36个部门以及200多个研究中心,综合排名跻身世界一流。

  预科申请

  一、留学条件

  丹麦读预科必须要高中毕业,18周岁以上;

  对于读硕士预科的来说,需要本科毕业,平均分80分以上;

  去丹麦留学必须具有一定的英文基础,需要通过学校的语言测试。

  丹麦留学的签证通过率是100%,所以去丹麦留学不需要有像英美国家那样签证不过的恐惧。丹麦的社会治安好,环境优美,气候适宜,在丹麦留学还可以享受和他们国家一样的打工权利,工资很高,完全可以支付在丹麦的生活费用。

  二、留学费用

  在...